Магнитный пускатель представляет собой простейший комплект аппаратов для дистанционного управления электродвигателями и кроме самого контактора часто имеет кнопочную станцию и аппараты защиты.
Схема подключения нереверсивного магнитного пускателя
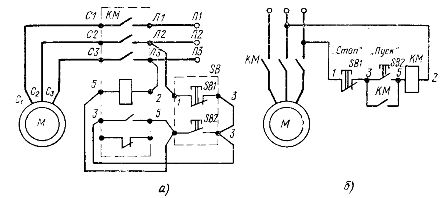
На рис. 1, а, б показаны соответственно монтажная и принципиальная схемы включения нереверсивного магнитного пускателя для управления асинхронным электродвигателем с короткозамкнутым ротором. На монтажной схеме границы одного аппарата обводят штриховой линией. Она удобна для монтажа аппаратуры и поиска неисправностей. Читать эти схемы трудно, так как они содержат много пересекающихся линий.
Рис. 1. Схема включения нереверсивного магнитного пускателя: а - монтажная схема включения пускателя, электрическая принципиальная схема включения пускателя
На принципиальной схеме все элементы одного магнитного пускателя имеют одинаковые буквенно-цифровые обозначения. Это позволяет не связывать вместе условные изображения катушки контактора и контактов, добиваясь наибольшей простоты и наглядности схемы.
Нереверсивный магнитный пускатель имеет контактор КМ с тремя главными замыкающими контактами (Л1 - С1, Л2 - С2, Л3 - С3) и одним вспомогательным замыкающим контактом (3-5).
Главные цепи, по которым протекает ток электродвигателя, принято изображать жирными линиями, а цепи питания катушки пускателя (или цепи управления) с наибольшим током — тонкими линиями.

Принцип действия схемы включения нереверсивного магнитного пускателя
Для включения электродвигателя М необходимо кратковременно нажать кнопку SB2 «Пуск». При этом по цепи катушки магнитного пускателя, потечет ток, якорь притянется к сердечнику. Это приведет к замыканию главных контактов в цепи питания электродвигателя. Одновременно замкнется вспомогательный контакт 3 - 5, что создаст параллельную цепь питания катушки магнитного пускателя.
Если теперь кнопку «Пуск» отпустить, то катушка магнитного пускателя будет включена через собственный вспомогательный контакт. Такую схему называют схемой самоблокировки. Она обеспечивает так называемую нулевую защиту электродвигателя. Если в процессе работы электродвигателя напряжение в сети исчезнет или значительно снизится (обычно более чем на 40% от номинального значения), то магнитный пускатель отключается и его вспомогательный контакт размыкается.
После восстановления напряжения для включения электродвигателя необходимо повторно нажать кнопку «Пуск». Нулевая защита предотвращает непредвиденный, самопроизвольный пуск электродвигателя, который может привести к аварии.
Аппараты ручного управления (рубильники, конечные выключатели) нулевой защитой не обладают, поэтому в системах управления станочным приводом обычно применяют управление с использованием магнитных пускателей.
Для отключения электродвигателя достаточно нажать кнопку SB1 «Стоп». Это приводит к размыканию цепи самопитания и отключению катушки магнитного пускателя.
Схема подключения реверсивного магнитного пускателя
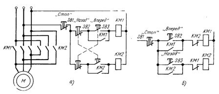
В том случае, когда необходимо использовать два направления вращения электродвигателя, применяют реверсивный магнитный пускатель, принципиальная схема которого изображена на рис. 2, а.
Рис. 2. Схемы включения реверсивного магнитного пускателя
Принцип действия схем включения реверсивного магнитного пускателя
Для изменения направления вращения асинхронного электродвигателя необходимо изменить порядок чередования фаз статорной обмотки.
В реверсивном магнитном пускателе используют два контактора: КМ1 и КМ2. Из схемы видно, что при случайном одновременном включении обоих контакторов в цепи главного тока произойдет короткое замыкание. Для исключения этого схема снабжена блокировкой.
Если после нажатия кнопки SB3 «Вперед» и включения контактора КМ1 нажать кнопку SB2 «Назад», то размыкающий контакт этой кнопки отключит катушку контактора КМ1, а замыкающий контакт подаст питание в катушку контактора КМ2. Произойдет реверсирование электродвигателя.
Электрическая схема цепи управления реверсивного пускателя с блокировкой на вспомогательных размыкающих контактах изображена на рис. 2, б.
В этой схеме включение одного из контакторов, например КМ1, приводит к размыканию цепи питания катушки другого контактора КМ2. Для реверса необходимо предварительно нажать кнопку SB1 «Стоп» и отключить контактор КМ1. Для надежной работы схемы необходимо, чтобы главные контакты контактора КМ1 разомкнулись раньше, чем произойдет замыкание размыкающих вспомогательных контактов в цепи контактора КМ2. Это достигается соответствующей регулировкой положения вспомогательных контактов по ходу якоря.
В серийных магнитных пускателях часто применяют двойную блокировку по приведенным выше принципам. Кроме того, реверсивные магнитные пускатели могут иметь механическую блокировку с перекидным рычагом, препятствующим одновременному срабатыванию электромагнитов контакторов. В этом случае оба контактора должны быть установлены на общем основании.



